
1
Signalleuchte
2
Bedienelemente
3
Bedienteil
4
Schutztür vorne
5
Schutztür
In der Hebestation befindet sich ein Lift. Dieser hebt die Lötrahmen von dem unteren Band zum oberen Band.

1
Oberer Schutzschieber
2
Unterer Schutzschieber
Die Schutzschieber verschließen den Transportweg der Lötrahmen in die Hebestation hinein bzw. aus der Hebestation heraus.

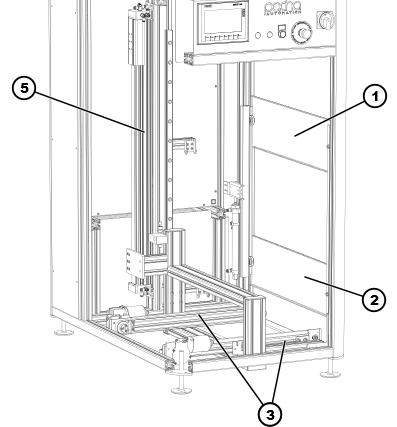
1
Oberer Schutzschieber
2
Unterer Schutzschieber
3
Transportbänder Hebestation
5
Vertikalachse
Die vertikale Achse fährt die Transportbänder der Hebestation im leeren Zustand nach unten.
Der untere Schutzschieber öffnet und ein Lötrahmen wird in die Hebestation eingefahren.
Sobald der Lötrahmen sich vollständig in der Hebestation befindet, schließt der untere Schutzschieber. Die vertikale Achse fährt nach oben.
Der obere Schutzschieber öffnet.
Der Lötrahmen wird auf das obere Transportband aus der Hebestation heraus transportiert.
